Ваш город:
Нижний Тагил
Ваш город Нижний Тагил?
Да Выбрать другой
Заказать звонок
Фильтр

Планетарный мотор редуктор 3МПз-50

Описание

Описание товара временно отсутствует

Характеристики

Технические характеристики

Номинальная частота вращения выходного вала, об/ минНоминальный крутящий момент на выходном валу, Н·мПередаточное отношение редукторной частиМасса, кг, не болееДвигатель
ТипМощность, кВт
3,55 570 201 52 MS802-8 0,25
5,6 570 238 52 MS801-4 0,55
7,1 570 190 52 MS801-4 0,55
9 555 161 52 MS801-4 0,55
12,5 525 238 50 MS801-2 0,75
16 445 190 50 MS801-2 0,75
18 570 39,4 60 MS100L2-8 1,1
22,4 570 39,4 59 MS100L-6 1,5
28 495 31,9 59 MS100L-6 1,5
35,5 570 39,4 59 MS100L1-4 2,2
45 480 31,9 59 MS100L1-4 2,2
56 510 25,2 66 MS100L2-4 3
71 530 39,4 66 MS100L1-4 4
90 500 31,9 71 MS112M-2 5,5
112 331 25,2 72 MS100L1-2 4
112 420 7,8 110 MS132M-6 5,5
140 510 6,95 125 MS160M-6 7,5
180 570 7,8 125 MS132L2-4 11
224 450 6,3 125 MS132L2-4 11
400 335 7 158 MS160M2-2 15
460 303 6,3 158 MS160M2-2 15
460 222 6,3 117 MS132L2-2 11

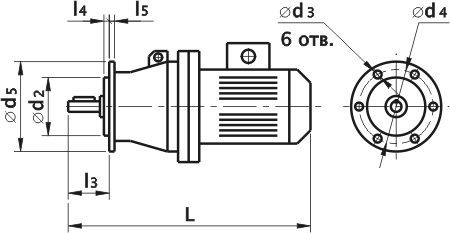
Габаритные и присоединительные размеры

Исполнение на лапах

Мотор редуктор 3МП-40. Исполнение на лапах

Фланцевое исполнение

Мотор-редуктор планетарный ЗМП-40. Фланцевое исполнение

Частота вращения
выходного вала, об/мин
LBHll1l2l3l4l5dd1d2d3d4d5
не более
3,5 ... 16 650 265 285 110 145 210 125 8 18 45k6 19 180h8 17 215 250
18 ... 90 680 265 285
112 ... 280 900 350 425
Частота вращения
выходного вала, об/ мин
bb1b2hh1h2tН1
3,55 ... 16 14h9 220 265 132 9 22 48,5 0
18 ... 90
112 ... 224 43

Выходной вал

Выходной вал мотор редуктора 3МП-40

Монтажное исполнение

Монтажное исполнение ЗМП-40

Характеристики

Похожие товары
Планетарный мотор редуктор 3МПз-63

Мотор-редуктор 3МП-63 (ЗМП-63) выпускается с одной, двумя и тремя ступенями. Агрегат включает в себя планетарный редуктор и электродвигатель Able мощностью до 15 кВт. Также возможна комплектация двигателями Siemens.

Мотор редукторы характеризуются высоким КПД (до 98%), точностью работы, надежностью.

Пример условного обозначения при заказе

Мотор-редуктор 3МП–63–56–510–110УЗ, 380 В

  • 3МП - тип мотор–редуктора
  • 63 - типоразмер (радиус расположения сателлитов в мм)
  • 56 - номинальная частота вращения выходного вала, об/мин
  • 510 - допускаемый крутящий момент на выходном валу Н•м
  • G110 - исполнение по способу монтажа
  • У3 - климатическое исполнение по ГОСТ 15150-69
  • 380 - напряжение сети
по запросу
Подробнее
Планетарный мотор редуктор ЗМПз-31,5

Мотор редукторы 3МП-31.5 с планетарной передачей производятся на базе электродвигателей Able, превосходящих двигатели АИР по соотношению цена/качество. Диапазон мощностей - 0,06-4 кВт. Приводы могут иметь от одной до трех ступеней. КПД агрегатов 3МП-31.5 достигает 98% (одноступенчатые модификации). Особенность серии - большой разброс передаточных чисел при небольших габаритах привода.

Мотор-редуктор ЗМП-31.5 поставляется в двух вариантах исполнения — на лапах и с фланцем. Возможен горизонтальный и вертикальный монтаж агрегата. Варианты исполнения выходного вала: цилиндрический, конический, полый.

Пример условного обозначения при заказе

Мотор-редуктор 3МП–31.5–18–130–150УЗ, 380 В

  • 3МП - тип мотор–редуктора
  • 31.5 - типоразмер (радиус расположения сателлитов в мм)
  • 18 - номинальная частота вращения выходного вала, об/мин
  • 130 - допускаемый крутящий момент на выходном валу Н•м
  • G150 - монтажное исполнение
  • У3 - климатическое исполнение по ГОСТ 15150-69
  • 380 - напряжение сети
по запросу
Подробнее
Планетарный мотор редуктор ЗМПз-40

Мотор-редуктор 3МП-40 — один из наиболее доступных приводов с планетарной передачей из представленных на рынке. Данное оборудование обеспечивает высокую точность передачи крутящего момента. Мощность агрегата ЗМП-40 варьируется в диапазоне от 0,12 до 7,5 кВт.

Пример условного обозначения при заказе

Мотор-редуктор 3МП–40–45–225–120УЗ, 380 В

  • 3МП - тип мотор–редуктора
  • 40 - типоразмер (радиус расположения сателлитов в мм)
  • 45 - номинальная частота вращения выходного вала, об/мин
  • 225 - допускаемый крутящий момент на выходном валу Н•м
  • G120 - исполнение по способу монтажа
  • У3 - климатическое исполнение по ГОСТ 15150-69
  • 380 - напряжение сети
по запросу
Подробнее
Назад
Выбор города