Ваш город:
Нижний Тагил
Ваш город Нижний Тагил?
Да Выбрать другой
Заказать звонок
Фильтр

Планетарный мотор редуктор ЗМПз-40

Описание

Описание товара временно отсутствует

Характеристики

Технические характеристики

Номинальная частота вращения выходного вала, об/ минНоминальный крутящий момент на выходном валу, Н·мПередаточное отношение редукторной частиМасса, кг, не болееДвигатель
ТипМощность, кВт
5,6 210 253 30,4 MS631-4 0,12
7,1 225 186 30,4 MS632-4 0,18
9.0 250 147 31,2 MS711-4 0,25
12,5 265 230 31,2 MS711-2 0,37
16 230 186 31,2 MS711-2 0,37
18 280 39,7 40 MS90L-8 0,55
22,4 225 39,7 35 MS802-6 0,55
28 250 31,8 38 MS90S-6 0,75
35,5 285 39,7 38 MS90S-4 1,1
45 225 31,8 38 MS90S-4 1,1
56 248 25,6 40 MS90L-4 1,5
71 280 39,7 40 MS90L-2 2,2
90 225 31,8 40 MS90L-2 2,2
112 250 7,9 70 MS132M-6 3
140 260 6,3 76 MS132M1-6 4
180 285 7,9 76 MS132S-4 5,5
224 230 6,3 76 MS132S-4 5,5
400 175 7 76 MS132S2-2 7,5
460 153 6,3 76 MS132S2-2 7,5

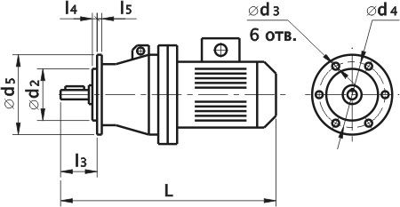
Габаритные и присоединительные размеры

Исполнение на лапах

Мотор редуктор 3МП-40. Исполнение на лапах

Фланцевое исполнение

Мотор-редуктор планетарный ЗМП-40. Фланцевое исполнение

Частота вращения
выходного вала, об/мин
LBHll1l2l3l4l5dd1d2d3d4d5
не более
5,6 ... 16 500 220 250 80 110 170 90 6 16 35k6 19 130h6 15 165 200
18 ... 90 570 250 260
112 ... 224 730 350 350
Частота вращения
выходного вала, об/ мин
bb1b2hh1h2tН1
5,6 ... 16 10h9 180 220 112 8 20 38 0
18 ... 90
112...224 38
280 63

Выходной вал

Выходной вал мотор редуктора 3МП-40

Монтажное исполнение

Монтажное исполнение ЗМП-40

Характеристики

Похожие товары
Планетарный мотор редуктор ЗМПз-31,5

Мотор редукторы 3МП-31.5 с планетарной передачей производятся на базе электродвигателей Able, превосходящих двигатели АИР по соотношению цена/качество. Диапазон мощностей - 0,06-4 кВт. Приводы могут иметь от одной до трех ступеней. КПД агрегатов 3МП-31.5 достигает 98% (одноступенчатые модификации). Особенность серии - большой разброс передаточных чисел при небольших габаритах привода.

Мотор-редуктор ЗМП-31.5 поставляется в двух вариантах исполнения — на лапах и с фланцем. Возможен горизонтальный и вертикальный монтаж агрегата. Варианты исполнения выходного вала: цилиндрический, конический, полый.

Пример условного обозначения при заказе

Мотор-редуктор 3МП–31.5–18–130–150УЗ, 380 В

  • 3МП - тип мотор–редуктора
  • 31.5 - типоразмер (радиус расположения сателлитов в мм)
  • 18 - номинальная частота вращения выходного вала, об/мин
  • 130 - допускаемый крутящий момент на выходном валу Н•м
  • G150 - монтажное исполнение
  • У3 - климатическое исполнение по ГОСТ 15150-69
  • 380 - напряжение сети
по запросу
Подробнее
Планетарный мотор редуктор 3МПз-63

Мотор-редуктор 3МП-63 (ЗМП-63) выпускается с одной, двумя и тремя ступенями. Агрегат включает в себя планетарный редуктор и электродвигатель Able мощностью до 15 кВт. Также возможна комплектация двигателями Siemens.

Мотор редукторы характеризуются высоким КПД (до 98%), точностью работы, надежностью.

Пример условного обозначения при заказе

Мотор-редуктор 3МП–63–56–510–110УЗ, 380 В

  • 3МП - тип мотор–редуктора
  • 63 - типоразмер (радиус расположения сателлитов в мм)
  • 56 - номинальная частота вращения выходного вала, об/мин
  • 510 - допускаемый крутящий момент на выходном валу Н•м
  • G110 - исполнение по способу монтажа
  • У3 - климатическое исполнение по ГОСТ 15150-69
  • 380 - напряжение сети
по запросу
Подробнее
Планетарный мотор редуктор 3МПз-50

Мотор-редуктор 3МП-50 (ЗМП-50) выпускается с одной, двумя и тремя ступенями. Агрегат включает в себя планетарный редуктор и электродвигатель Able мощностью до 15 кВт. Также возможна комплектация двигателями Siemens.

Мотор редукторы характеризуются высоким КПД (до 98%), точностью работы, надежностью.

Пример условного обозначения при заказе

Мотор-редуктор 3МП–50–56–510–110УЗ, 380 В

  • 3МП - тип мотор–редуктора
  • 50 - типоразмер (радиус расположения сателлитов в мм)
  • 56 - номинальная частота вращения выходного вала, об/мин
  • 510 - допускаемый крутящий момент на выходном валу Н•м
  • G110 - исполнение по способу монтажа
  • У3 - климатическое исполнение по ГОСТ 15150-69
  • 380 - напряжение сети
по запросу
Подробнее
Назад
Выбор города