Ваш город:
Нижний Тагил
Ваш город Нижний Тагил?
Да Выбрать другой
Заказать звонок
Фильтр

Редуктор 5Ч-80АМ

Описание

Передаточное число, ном. 8 10 12,5 16 20 25 31,5 40 50 63 80
Частота вращения входного вала, об/мин 1500
Значение крутящих моментов Мт, Нм 212 190 195 218 195 195 260 195 206 190 175
Термическая мощность Nt, Квт 4,6 3,4 2,8 2,5 1,9 1,5 1,7 1,1 0,9 0,8 0,6
Масса, кг не более 18,6 (30)

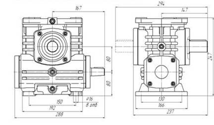
Габаритные и присоединительные размеры

Концы валов

Вариант исполнения конца тихоходного вала

Вариант исполнения конца быстроходного вала

Вариант сборки 56 со шпончным отверстием

Вариант сборки 56 с шлицевым отверстием

Варианты сборки

Варианты сборки (рассматривать при расположении червячной пары – червяк под колесом)

Вариант крепления редуктора

Вариант расположения червячной пары

Примерные обозначения при заказе продукции

Редуктор 5Ч-80АМ-32-51-1-1-Ц-Ц-2-У3, где:

  • 5 – порядковый номер разработки конструкции;
  • Ч – тип редуктора;
  • 63АМ – межосевое расстояние;
  • 32 – передаточное число номинальное;
  • 51 – вариант сборки по ГОСТ 20373-94;
  • 1 – вариант крепления редуктора.
  • 1 – вариант расположения червячной пары (червяк под колесом);
  • Ц- Вариант исполнения конца быстроходного вала – Ц – цилиндрический по ГОСТ 12080 (К – конический с внутренней резьбой, К1 – конический с наружной резьбой по ГОСТ 12081);
  • Ц – Вариант исполнения конца тихоходного вала – Ц – цилиндрический по ГОСТ 12080 (К – конический с внутренней резьбой, К1 – конический с наружной резьбой по ГОСТ 12081);
  • 2 – категория точности по ГОСТ Р 50891-96;
  • У3 – вид климатического исполнения по ГОСТ 15150-69;
Назад
Выбор города